FeatureGems & Gemology, Winter 2016, Vol. 52, No. 4

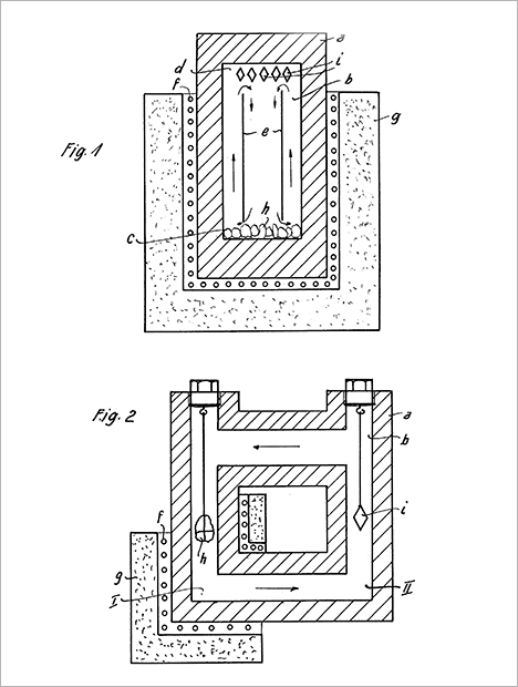
Synthetic Emeralds Grown by Richard Nacken in the Mid-1920s

Karl Schmetzer, H. Albert Gilg, Elisabeth Vaupel

Richard Nacken in 1907
Figure 1. Richard Nacken as a young assistant in the laboratory at the University of Göttingen, 1907. Photo courtesy of E. Schlatter.

Dr. Schmetzer is an independent researcher living in Petershausen, near Munich, Germany. Prof. Gilg is professor at the chair of engineering geology at the Technical University of Munich. Prof. Vaupel is a staff member at the Research Institute of the Deutsches Museum in Munich.

こちらもご覧ください

YMAL GIA Ed
通学やオンラインでの教育について学ぶ
Learn About NextGem
GIA ネクストジェム(NextGem) ダイヤモンド研修 小売業向け
Explore GIA Laboratory Promotional Offers
GIAラボラトリーの特別オファーを見る
Shop the GIA Store
GIAストアで ショッピング
Synthetic Emeralds Grown by Richard Nacken in the Mid-1920s | Gems & Gemology